运动木地板结构图解
我们知道,运动木地板是以龙骨结构来安装的。但是,不同的龙骨结构有不同的组成内容。为了更详细地向大家科普运动木地板的不同龙骨结构安装系统,欧氏运动木地板工程师,这就为大家图文并茂地详细讲述:
(1)结构Ⅰ:表板+毛地板+龙骨+弹性胶垫+龙骨+弹性胶垫
在本研究的结构设计中,以目前国内外具有代表性的竞赛用结构形式,同时对照GB/T20239-2006 的相关论述,以龙骨为主要结构层材料,设计出双层龙骨结构的体育木地板,结构Ⅰ,见示意图 3-1。

图 3-1 结构Ⅰ示意图
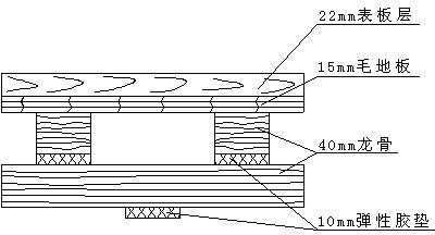
(2)结构Ⅱ:表板+毛地板+弹性胶垫+龙骨+弹性胶垫
结构Ⅱ为单层龙骨结构,与结构Ⅰ相比,结构Ⅱ为单层龙骨,其它与结构Ⅰ相同, 选择结构Ⅱ形式主要是为对比双层龙骨与单层龙骨结构对体育木地板性指标的影响情况,见示意图 3-2。

图 3-2 结构Ⅱ示意图
(3)结构Ⅲ:表板+毛地板+弹性胶垫
结构Ⅲ为无龙骨双层结构形式。与结构Ⅰ与结构Ⅱ相比,结构Ⅲ不考虑龙骨的影响, 因该结构只有面层地板和毛地板层以及弹性胶垫,研究目的是对比龙骨的有无对体育木地板功能指标的影响,见示意图 3-3。

图 3-3 结构Ⅲ示意图
以上就是几种常见的龙骨结构系统。博内运动木地板是中国体育运动木地板行业的民族品牌。欧氏运动木地板研发了多种龙骨结构系统,比如单龙骨,双龙骨,双层双减震龙骨、主辅龙骨、板式龙骨、固定斜铺龙骨等等,满足客户多种需求,欢迎大家咨询考察。